Verpackung (Metall, Glas und Kunststoff)

VERPACKUNG (METALL, GLAS UND KUNSTSTOFF)

EXPANSIONSFÄHIGER DECKEL FÜR EINE NAHRUNGSMITTEL DOSE

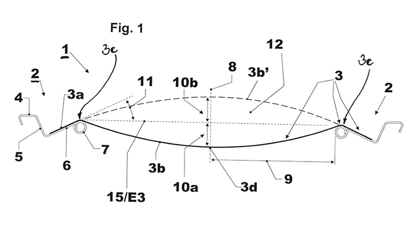
Die Erfindung betrifft Deckel für Dosen zur Aufnahme von Nahrungsmitteln, die einer thermischen Behandlung oberhalb 50°C in Form einer Sterilisation oder zumindest Pasteurisierung unterzogen werden müssen. Vorgeschlagen wird ein Deckel für eine solche Dose zur Aufnahme eines Nahrungsmittels, die nach Verschließen der Dose einem thermischen Prozess unterzogen wird. Der Deckel (1) besteht aus einem fest und dichtend mit dem Dosenrand verbindbaren Deckelring (2) und einem an diesem dichtend angeordneten oder befestigbaren (13) flächigen Abdeckpanel (3). Der Deckelring hat einen zur lotrechten Mittelachse (8) des Deckels weisenden, gegenüber der Horizontalen (15) unter einem Winkel (11) axial nach außen geneigten Flachsteg (6). An dem Flachsteg wird der Abdeckpanel (3) mittels eines radial äußeren Ringbandes (3a) dichtend befestigt, bei dem ein von dem Ringband begrenzter zentraler Bereich (3b) axial nach innen schalenförmig vorverformt und dadurch stabilisiert wird. Der Abdeckpanel wechselt bei einer Druckerhöhung bei der thermischen Behandlung aus der vorverformten Stellung (3b) in eine axial nach außen gerichtete schalenförmige Stellung (3b'), und nach einem Abkühlen kehrt er - zumindest im Wesentlichen exakt - in seine vorverformte Stellung automatisch wieder zurück.

Zu DE 10 2006 005 058 A1