Software Patents
Software Patents
Designing a Physical Layout of a Photovoltaic System(PV System)
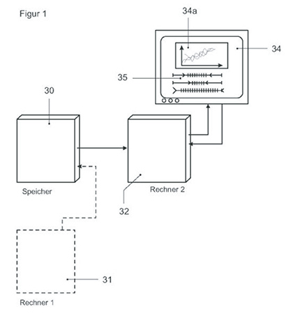
Creating a physical layout of a photovoltaic system in a specified field is provided where the photovoltaic system is specified by a plurality of technical properties. The method includes reading out more than 20 pre-calculated, completed layouts for the photovoltaic system from a memory; presenting the completed layouts in a graphical presentation wherein each of the completed layouts is represented by at least one partial amount of the plurality of technical properties; modifying value ranges of the presented technical properties, in order to present a modified number of completed layouts in a comparable manner; and selecting an optimized layout that has been optimized with regard to the presented properties from the modified number of completed layouts. Thereby a photovoltaic system having a high nominal power can be established in the best possible manner. The physical layout of the entire photovoltaic system is adapted to the specified field.

